
服务热线:027-88185960
在线咨询
返回产品列表
1. 选择水表的口径,应根据安装地点的流量大小而定,且不宜使用大于50℃高温热水及有腐蚀性的液体。
2. 安装位置要避免暴晒、冰冻、污染和水淹,以便拆装和抄表,在有冰冻期间,除将水表和水管包扎外,不用时把水表进水端阀门关闭,出水端放水阀和水龙头打开,可防止水表因冰冻膨胀损坏。
3. 水表必须水平安装,使字面朝上,箭头方向与水流方向相同。
4. 新装管道务必把管内石子、泥沙、麻丝等杂物冲洗干净后方可安装水表,以免造成水表故障。
5. 为了计量准确,水龙头应高于水表。
6. 水表的上游和下游安装必要的直管段,要求为U3D0,即上游直管段的长度不少于U10(10倍的水表公称口径),下游D5(5倍的水表公称口径)。
7. 水表不应直接与管道连接,水表与管道间应通过接管、密封垫圈、连接螺母连接。拆装水表时,切不可用力硬扳,以免扭坏表壳。
8. 水表长期使用,管道内杂质铁锈等会堵塞过滤网或进入水表内,使水表误差增大或影响正常运转,最好适时冲洗,并重新校准,但不要自行拆装。
9. 可采用接管中安装止回阀,消除水表在使用中因水流压力不够稳定或其它原因容易产生的自转现象。
10. 水表安装处的任何一侧或障碍物与水表/相关管件的至少一个侧面之间应留有不少于一个管道直径加300mm的间隙。
11. 水表运输过程中,不要用手拎着水表通讯线来运输,以免通讯线损坏。
12. 储存、运输、安装、使用请符合《电子远传水表》(CJ/T 224-2012)标准。
电子技术参数:
1. 工作电源:DC24V-36V
2. 工作环境:温度:0~+45℃ 湿度:0~95%RH
3. 总线接口:M-bus
4. 通信参数:2400,8,e,1
5. 通信线缆:两芯RVVS 线,0.75平方以上
6. 通信距离:<1000米
7. 静态电流:<1.5mA
8. 工作电流:<50mA
9. 转换误差:±0.5最小字轮单位
基表技术参数:
型号 | 公称 口径 | 常用 流量 Q3 | Q3/Q1 | 过载 流量 Q4 | 常用 流量 Q3 | 分界 流量 Q2 | 最小 流量 Q1 | 最小 读数 Min | 最大 读数 Max |
(mm) | (m3/h) | (m³/h) | (L/h) | m3 | |||||
LXSY-15S | 15 | 2.5 | 80 | 3.125 | 2.5 | 50 | 31.25 | 0.00005 | 99999 |
100 | 40 | 25 | |||||||
160 | 25 | 15.625 | |||||||
LXSY-20S | 20 | 4 | 80 | 5 | 4 | 80 | 50 | ||
100 | 64 | 40 | |||||||
160 | 40 | 25 | |||||||
注:实际按度盘标识为准。

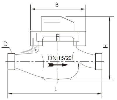
外形尺寸及重量:
型号 | 口径 | 长L | 宽B | 高H | 连接方式 | 重量 Kg | 连接线 | |
mm | D | m | ||||||
LXS-15E | 15 | 165 | 98 | 105.5 | R1/2 | G 3/4B | 1.4 | 0.5-1 |
LXS-20E | 20 | 195 | 98 | 107 | R3/4 | G 1B | 1.7 | 0.5-1 |
注:外形尺寸及重量仅供参考,以实物为准。
1.本水表计数器采用特种液体封装,具有计量精度高、始动流量小、能长期保持计数机构充满液体、防污性好、抄读方便、外形美观、安全卫生、寿命长等特点。
2.DN15-20水表的罩子选用GB5232加工黄铜,用热锻制造技术,强度比GB1176铸造铅黄铜罩子更好,可有效防止开裂现象。DN15-20水表也有不锈钢罩子可供选,可有效防止偷窃现象。
3.直接读出数据而非图片,便于组网 。
4.采用了自主专利技术实现可靠的字轮识别,可识别出小数位。
5.采用M-bus总线,通讯协议兼容CJ/T 188-2004协议,可通过扩展指令读出JPEG格式的图片。